森林防火氣象站
產品型號:TH-SLQX
產品品牌:云境天合
一、森林防火氣象站產品簡介
森林防火氣象站又稱森林火險氣象站,森林氣象站,森林防火氣象站通過監測容易發生森林火災區域的氣象因子,可以預防森林大火的發生,在發生大火時導工作人員進行快速合理的滅火工作,使財產損失降到低點。
森林火災是森林生態系統的大敵,它能在很短時間內,燒毀大面積的森林和大量的林副產品,破壞林分結構和森林環境,破壞自然界生態平衡,造成氣候失調,水土流失,河流淤塞,洪水泛濫或水源枯竭。通過監測容易發生森林火災區域的風速風向、空氣的溫度、相對濕度、太陽輻射等氣象因子。
該設備由氣象傳感器,采集器,太陽能供電系統,立桿支架,云平臺五部分組成。免調試,可快速布置,廣泛運用于氣象、農業、林業、環保、海洋、機場、港口、科學考察、校園教育等領域。
二、森林防火氣象站產品特點
1、低功耗采集器:靜態功耗小于50uA
2、標配GPRS聯網、支持擴展藍牙、有線傳輸
3、7寸安卓觸屏,版本:4.4.2、四核Cortex?-A7,512M/4G
4、支持modbus485傳感器擴展
5、太陽能充電管理MPPT自動功率點跟蹤
6、三米碳鋼支架,兩節法蘭盤對接
7、短信報警,超限后向指定的手機上發送短信
8、ABS材質防護箱,耐腐蝕、抗氧化,防水等級IP66
三、森林防火氣象站技術參數
|
名 稱 |
測量范圍 |
分 辨 率 |
準 確 度 |
|
環境溫度 |
-50~+100℃ |
0.1℃ |
±0.5℃ |
|
相對濕度 |
0~100%RH |
0.1% |
±3% RH |
|
風 向 |
0~360°(16方向) |
1° |
±5° |
|
風 速 |
0~60m/s |
0.1m/s |
±(0.3+0.03V)m/s |
|
雨 量 |
≦4mm/min |
0.2mm |
±0.4mm |
|
光照強度 |
0-200000Lux |
1Lux |
±2% |
|
大氣壓力 |
10~1100hPa |
0.1hPa |
±0.3hPa |
|
土壤溫度 |
-50~+80℃ |
0.1℃ |
±0.5℃ |
|
土壤濕度 |
0~100% |
0.1% |
±3%RH |
|
二氧化碳 |
0-5000PPM |
1PPM |
±40PPM±讀數的3% |
|
可以根據用戶需求拓展配置:日照時數、蒸發量傳感器、露點溫度傳感器、紫外線輻射傳感器、光合輻射傳感器等各種氣象要素傳感器。 |
|||
|
供電系統 |
市電/太陽能/多電源供電系統可選 |
||
|
通訊系統 |
RS485、USB、無線GPRS、以太網等通訊方式 |
||
|
專用支架 |
安裝防護箱、傳感器、供電電源、通訊設備等 |
||
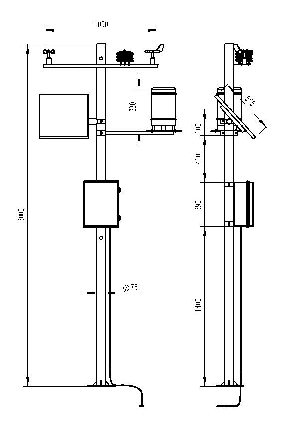
四、森林防火氣象站產品尺寸圖

五、森林防火氣象站產品結構圖
六、森林防火氣象站上位機軟件介紹
1、PC單機版數據接收、存儲、查看、分析軟件
2、支持串口數據接收、處理、展示
3、支持json字符串、modbus485等通信方式
4、可自設置存儲時間,modbus485采集模式下可自設置采集時間
5、支持自助增加、刪除、修改監測參數的協議、名稱、圖標等
6、支持數據后處理功能
7、支持外置運行javascript腳本
七、森林防火氣象站安卓APP介紹
1、安卓單機版數據接收、存儲、查看、分析軟件
2、支持藍牙數據接收
3、手機休眠后軟件后臺接收、處理
4、json數據自動添加設備,modbus設備支持掃碼添加設備
5、支持歷史數據查看、分析、導出表格,支持曲線展示、單數據點查看。
6、支持數據后處理功能
7、支持外置運行javascript腳本
八、森林防火氣象站云平臺介紹
1、CS架構軟件平臺,支持手機、PC瀏覽器直接觀測、無需額外安裝軟件。
2、支持多帳號、多設備登錄
3、支持實時數據展示與歷史數據展示儀表板
4、云服務器、云數據存儲,穩定可靠,易于擴展,負載均衡。
5、支持短信報警及閾值設置
6、支持地圖顯示、查看設備信息。
7、支持數據曲線分析
8、支持數據導出表格形式
9、支持數據轉發,HJ-212協議,TCP轉發,http協議等。
10、支持數據后處理功能
11、支持外置運行javascript腳本